一款能AI分析数据、防控风险、助力获客
老板都爱用的 ● 会话管理系统
一款能AI分析数据、防控风险、助力获客
老板都爱用的 ● 会话管理系统
会话记录实时获取
千万级数据存储不卡顿
使用企业微信官方存档
数据信息安全不泄露
企业员工变动
对话记录及时更新
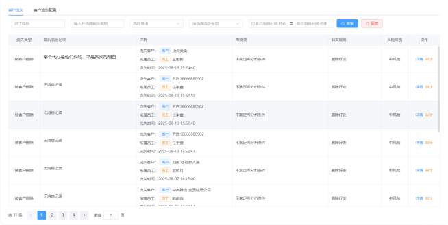
监测员工会话的异常行为
及时提醒、极速处理
会话轨迹
以日历视图、时间线形式纵览会话情况
员工视角查询
查看员工与员工、客户、所在群聊会话
客户视角查询
查看客户与员工以及客户所在群聊的会话
群聊视角查询
查看所有内部群和外部群聊会话
全局搜索消息
查看上下文溯源,关键词定位消息
渠道活码
永久群码
客户群发
群聊群发
渠道来源统计及分享
分渠道统计客户来源及流失数据,实时掌握各渠道的引流效果,企业推广更精准可将活码统计数据通过链接分享给他人,客户溯源,查询客户明细,实时更新最新数据
轮流分配
合理分流客户,均匀分配到每一个员工,降低企微风控,保障员工账号安全
自动打标签
多个标签,自动触发,减少人工操作,不遗漏每一个客户,客户管理更方便
无限创群
群满自动创群进行填充,可实现一码永久使用,极大提升企业社群引流效率,避免反复调整物料
一键通知员工执行
无需逐一联系员工,系统自动通过企业微信通知相关员工 “待执行群发任务”。
多类型内容支持
打破单一文本限制,可自由发送文本、图片、文件、链接等多种格式内容,适配产品推广、活动通知、资料分享、政策解读等不同场景,让群发内容更丰富、更有吸引力。
多群同步群发
支持一次性选择多个目标群聊,一键完成内容发送
全格式内容兼容
支持文本、图片、文件、链接等多种内容格式。可灵活适配群内通知、活动预热、资料分享、产品介绍等场景
精准筛选目标群
支持按群标签、群类型、群规模等维度筛选目标群聊,实现 “按需群发”
自动同步通话全程录音(支持语音通话、视频通话音频录制),音质清晰无杂音,重要沟通内容可回溯、可验证,规避口头沟通的信息偏差。
客户沟通中确认的需求细节、报价信息,录音留存便于后续核对;客服通话中的用户反馈、问题承诺,录音可作为服务质量追溯与纠纷处理的依据。
覆盖各类聊天场景中的文件类型(如文档、图片、视频、压缩包等),无需手动逐次保存,关键信息全程不遗漏。
商务沟通中接收的合同文档、项目方案,可即时下载存档;工作群内的会议纪要、数据表格,按关键词快速定位,避免反复刷屏查找。
客户数据
统计获客情况,客户流失情况,重复
客户等数据
风险数据
统计不同风险预计触发次数,不同员
工风险触发情况
聊天动态
员工会话动态实时掌握,AI实时摘要
总结
实时获取流失客户
员工删除客户,或被客户删除,都能实时预警
监听配置
可按需配置风险等级,通知范围
















































































条咨询,立即了解详情